news
[Rumor] Han Solo, Leia e l'Imperatore in Star Wars: BattlefrontIn - già in Beta su PC e da stasera anche su PS4 e Xbox One - è notoriamente confermata la presenza...
di Tommaso Alisonno 07 ottobre 2015
news
DISSIDIA Final Fantasy nelle sale Giapponesi a Novembre?Square Enix non ha ancora diramato alcun annuncio ufficiale, ma una sala-giochi Giapponese ha esposto...
di Tommaso Alisonno 06 ottobre 2015
news
Divinity: Original Sin in arrivo su PS4 e Xbox One?Una succursale di un noto venditore online canadese ha inserito nei suoi listini di pre ordine per Xbox...
di Roberto Vicario 04 ottobre 2015
news
Darksiders II ha già una data, ora spunta un'altra dataChe sia ormai in arrivo è un dato di fatto; sul "quando", però, c'è ancora qualche dubbio. A metà...
di Tommaso Alisonno 28 settembre 2015
news
La retrocompatibilità con il software PS2 su PS4 si è rivelata un fakeLo stesso utente di reddit che aveva parlato di una possibile retrocompatibilità di PS4 con ul software...
di Roberto Vicario 22 settembre 2015
news
La doppiatrice di Wolfenstein: The New Order rivela il seguito?Dopo, non si è più parlato di possibili seguito per . Tuttavia, per errore, sembra iniziare a muoversi...
di Roberto Vicario 22 settembre 2015
news
Dark Souls III: Multiplayer in 6 e invasioni illimitate?è atteso sugli scaffali il prossimo Aprile: per il momento, le uniche informazioni sul gioco From Software...
di Tommaso Alisonno 22 settembre 2015
news
[Rumor] Retrocompatibilità PS2 con il nuovo firmware di PS4?Il Firmware 3.0 di PS4 - nome in codice Kenshin - è sempre più vicino: di esso sappiamo che implementerà...
di Tommaso Alisonno 22 settembre 2015
news
Nuovi rumor su Final Fantasy XII HDVi piacerebbe rigiocarvi Final Fantasy XII, magari in una versione rimasterizzata come fatto da Square...
di Valerio De Vittorio 21 settembre 2015
news
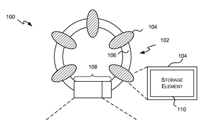
Microsoft brevetta un braccialetto interattivoLo scorso Aprile Microsoft ha depositato presso la un nuovo brevetto riguardante un'apparecchio che...
di Tommaso Alisonno 17 settembre 2015
news
Konami blocca la produzione di giochi tripla A?PES potrebbe essere l'unica serie ad alto budget portata avanti da Konami negli anni a venire. Niente...
di Valerio De Vittorio 17 settembre 2015
news
[Rumor] Un Kingdom Hearts 2.9 in sviluppo?Prima che veda finalmente la luce, Square Enix potrebbe ancora una carta "remix" da giocare. Per lo...
di Tommaso Alisonno 08 settembre 2015
news
AppleTV: una rivoluzione chiamata GamingMalgrado i primi esperimenti di non siano stati esattamente un successo commerciale, la casa di Cupertino...
di Tommaso Alisonno 07 settembre 2015
news
[Rumor] Un 'Triple Pack DLC' per Uncharted 4?(o "Fine di un Ladro" come dovrebbe essere il sottotitolo Italiano) arriverà in Europa il prossimo...
di Tommaso Alisonno 07 settembre 2015
news
[Rumor] Il nuovo titolo di Bandai Namco è un Disaster Report?Questa mattina abbiamo cui Bandai Namco ha aperto un per qualcosa di intitolato . Su questo sito e sul...
di Tommaso Alisonno 07 settembre 2015
news
[Rumor] Un film su Mega Man?Stando a quanto riportato da , che però non cita alcuna fonte, 20th Century Fox e Chernin Entertainment...
di Tommaso Alisonno 06 settembre 2015
news
Una data per Minecraft: Story Mode?Di , l'avventura episodica annunciata da TellTale Games e ambientata nell'universo concepito da Mojang,...
di Tommaso Alisonno 06 settembre 2015
news
È in arrivo una Xbox One Slim? Spencer dice di noErano circolati in questi giorni alcuni rumor su un possibile arrivo per il periodo pre-natalizio di...
di Valerio De Vittorio 27 agosto 2015
news
Nintendo NX potrebbe non avere un supporto fisicoStando ad un utente di nome Rosti proveniente dal forum di NeoGAF, Nintendo avrebbe depositato un brevetto...
di Roberto Vicario 23 agosto 2015
news
Il Back to the Future di TellTale potrebbe arrivare su PS4 e XboxCome sicuramente tutti saprete, quest'anno ricorre il trentennale della pellicola (in Italiano "Ritorno...
di Tommaso Alisonno 20 agosto 2015
![[Rumor] Han Solo, Leia e l'Imperatore in Star Wars: Battlefront](/images/mho8D9WCZMauest28QOWzV69BkU=/425x239/6862268622_2b54a862f8.jpg)






![[Rumor] Retrocompatibilita PS2 con il nuovo firmware di PS4?](/images/e7UtSb71xMCgNx_cKP0QphSZOLw=/425x239/6814068140_53c5b09473.jpg)



![[Rumor] Un Kingdom Hearts 2.9 in sviluppo?](/images/hnDF1GnQ3S4p7T92p5SUrYxlJnc=/425x239/6775767757_1b412454fb.jpg)

![[Rumor] Un 'Triple Pack DLC' per Uncharted 4?](/images/lmu8ROtNy0htI01O_5qQgAJLvBE=/425x239/6774667746_e4bd003e20.jpg)
![[Rumor] Il nuovo titolo di Bandai Namco e un Disaster Report?](/images/FV-h50f--UEezbM2Ae4GH7FlZ5o=/425x239/6775267752_c27d64f5b6.jpg)
![[Rumor] Un film su Mega Man?](/images/p1Zyh0NAWq8Nge39f9fXDLR0CZo=/425x239/6771767717_d98a34da49.jpg)



