Microsoft brevetta un braccialetto interattivo

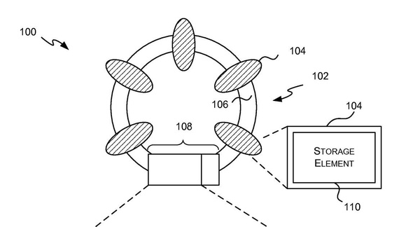
Lo scorso Aprile Microsoft ha depositato presso la World International Patent Organisation un nuovo brevetto riguardante un'apparecchio che viene descritto come una sorta di braccialetto interattivo, le cui funzionalità consisterebbero nell'interfacciarsi con degli "Elementi" per craere interazione tra essi e altri apparecchi circostanti. Si tratterebbe dunque di qualcosa di molto simile a quanto avviene con Skylanders, Disney Infinity o gli Amiibo di Nintendo, ma in formato "portatile".

Staremo a vedere se con questo apparecchio la casa di Redmond intenda costruire un nuovo stile di gioco, magari appoggiandosi a un'infrastruttura Mobile.


