Gli ultimi articoli
anteprime
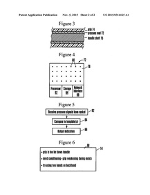
PlayStation VR2, tutto quello che sappiamo: la nuova dimensione di giocoLa nuova generazione di videogiochi in realtà virtuale sta per arrivare. Scopriamo subito tutte le...
di Biagio Petronaci 09 febbraio 2023 21:23
news
3dRudder è il controller VR che permette di muoversi utilizzando i piediAttraverso un post pubblicato sul [url=https://blog.it.playstation.com/2019/04/04/vi-presentiamo-il-controller-di-movimento-3drudder-per-playstation-vr-in-arrivo-questa-estate/][/url],...
di gabriele.eltrudis 09 aprile 2019 22:00
news
Playstation VR cala ufficialmente di prezzoA quasi un anno e mezzo dal suo debutto sul mercato, per Playstation VR è finalmente giunto il momento...
di Redazione 27 marzo 2018 22:00
speciali
PlayStation VRSe qualcuno pensava che Sony stesse abbandonando il suo , si sbaglia di grosso: il colosso giapponese...
di Redazione 09 aprile 2017 22:00
news
[PSX 2016]Star Blood Arena è la nuova esclusiva PS VRDopo aver parlato di terze parti e indie è il momento di parlare di VR: Il primo titolo "virtuale"...
di Tommaso Alisonno 02 dicembre 2016 23:00
news
Playstation VR: meglio su Ps4 normale o sulla Pro?Si, lo sappiamo, la risposta potrebbe essere banale, ma è comunque interessare vedere come i primi...
di Luca Gambino 27 novembre 2016 23:00
news
PS VR sta superando Rift e Vive in UKAi sudditi di Sua Maestà Britannica piace , molto più di quanto non piacciano Oculus Rift e HRC Vive:...
di Tommaso Alisonno 24 novembre 2016 23:00
news
PlayStation VR tra le 25 più grandi novità tecnologiche del 2016Come ogni anno il magazine ha stilato quello che secondo i suoi redattori è l'elenco delle 25 novità...
di Tommaso Alisonno 20 novembre 2016 23:00
news
PlayStation VR difficile da reperireSembra che al mercato mondiale sia piaciuto particolarmente il visore , tanto che Sony potrebbe aver...
di Tommaso Alisonno 06 novembre 2016 23:00
news
Ecco i nostri test con PlayStation VRCome sapete, e con esso la realtà virtuale di fascia "più abbordabile" rispetto ad altri prodotti...
di Tommaso Alisonno 16 ottobre 2016 22:00
speciali
PlayStation VRNon un “V-Day”, ma un “VR-Day”, da pronunciarsi rigorosamente“Vi Ar”, per non fare arrabbiare...
di Luca Gambino 16 ottobre 2016 22:00
news
Sony aumenterà la produzione di PlayStation VRSe l'intento di Sony con il lancio del suo visore era quello di "sdoganare" la realtà Virtuale rendendola...
di Tommaso Alisonno 13 ottobre 2016 22:00
news
PS VR funziona (in cinema-mode) su PC, Xbox One e Wii UA monte di tutte le sue caratteristiche peculiari, - come tutti i visori VR - è sostanzialmente una...
di Tommaso Alisonno 13 ottobre 2016 22:00
news
PS VR e i Giapponesi in fila davanti ai negoziIl successo di un prodotto lo stabiliscono i numeri di vendita, e sebbene questi numeri non siano ancora...
di Tommaso Alisonno 12 ottobre 2016 22:00
news
Uno Spot TV per il lancio di PlayStation VRCi siamo: oggi è il Day-One di ! Poteva forse mancare una campagna promozionale degna di quanto Sony...
di Tommaso Alisonno 12 ottobre 2016 22:00
news
Un PlayStation VR GIGANTE alla Kings Cross Station di LondraSin dal lancio di PS4 Sony ci ha abituato a fare le cose in grande (ricordate le ?), e anche con - sugli...
di Tommaso Alisonno 11 ottobre 2016 22:00
news
Come connettere PlayStation VR in tre semplici videoil visore realizzato da Sony per PS4, arriverà sugli scaffali il 13 Ottobre: per assicurarsi che gli...
di Tommaso Alisonno 10 ottobre 2016 22:00
news
Playstation VR incompatibile con HDR: Sony fa un po' di chiarezzaQualche giorno fa vi avevamo già accennato all'impossibilità di utilizzare l'HDR in abbinata al Playstation...
di Redazione 05 ottobre 2016 22:00
news
Ecco la line-up per il lancio di PlayStation VRManca una settimana al lancio del visore : Sony ha dunque pensato bene di pubblicare sulle pagine del...
di Tommaso Alisonno 05 ottobre 2016 22:00
























































